铜人社函〔2024〕17号
关于印发《铜陵市企业“员工录用一件事”
联办工作方案(试行)》的通知
各有关单位:
现将《铜陵市企业“员工录用一件事”联办工作方案》印发给你们,请结合实际工作认真贯彻执行。
铜陵市人力资源和社会保障局
铜陵市数据资源管理局
铜陵市住房公积金管理中心 铜陵市医疗保障局
2024年3月22日
铜陵市企业“员工录用一件事”
联办工作方案(试行)
为提高我市服务企业效能,提升企业员工录用政务服务标准化、规范化、便利化水平,建设方便快捷、优质高效的员工录用服务体系,推进全市企业员工录用“一件事一次办”工作,制定本实施方案。
一、总体要求
坚持以习近平新时代中国特色社会主义思想为指导,深入践行以人民为中心的发展思想,突出需求导向和问题导向,通过数据共享、系统对接、部门协同、集成服务等方式,实现员工录用后相关事项网络化、集成化办理,提高政务服务效率,提升企业认同感、满意度。
二、工作目标
通过对接业务系统、共享数据信息和再造办理流程,建立人力资源社会保障、医保、住房公积金、数据资源跨部门线上线下联办机制,并实现办理过程全程跟踪、办理结果及时反馈。
三、服务对象
企业
四、联办事项
就业登记、职工参保登记(社会保险)、社会保障卡申领、档案的接收和转递(流动人员)、职工参保登记(基本医疗保险)、个人住房公积金账户设立等。
五、职责分工
建立完善企业员工录用“一件事一次办”跨部门联动工作机制,明确职责分工,形成工作合力。
1.人力资源社会保障部门:负责企业员工录用“一件事”牵头工作以及整体推进、沟通协调、业务流程确认、“一件事一次办”办理标准化工作规程和办事指南编制等工作;同时负责就业登记、职工参保登记(社会保险)、社会保障卡申领、档案的接收和转递(流动人员)等事项办理,做好信息系统对接、数据共享、材料流转等工作。
2.住房公积金管理部门:负责职工个人住房公积金账户设立事项的线上线下办理,做好信息系统对接、数据共享、材料流转等工作。
3.医疗保障部门:负责职工参保登记(基本医疗保险)事项的线上线下办理,做好信息系统对接、数据共享、材料流转等工作。
4.数据资源管理部门(政务服务管理部门):提供线上办理渠道及线下物理场所、集约通用的能力支撑、并联审批的协同平台、跨部门跨层级的数据交换通道。
六、工作要求
(一)提高思想认识。实现企业员工录用“一件事一次办”是落实“一改两为五做到”、进一步优化营商环境的重要举措,也是践行以人民为中心发展思想的具体体现,相关部门要高度重视,提高思想认识,加强组织领导,积极推动落实。
(二)加强协调配合。各有关部门要根据统一部署和有关工作要求,建立健全会商落实机制,强化部门之间协调配合,认真做好事项梳理、流程再造、信息系统对接、数据共享以及后期系统测试、人员培训等工作,市人社局等相关部门在政务服务中心设立综合服务窗口,明确具体工作人员及职责。
(三)规范事项运行。各有关部门在安徽省政务服务事项管理平台认领省级部门统筹的相关服务事项,对应编制受理条件、申请材料、办理时限、办理流程等要素信息,规范统一材料名称、电子证照名称、办理结果名称等,依托安徽政务服务网、政务服务中心综合窗口规范高效运行。
(四)强化宣传引导。各有关部门通过部门网站、微信公众号、抖音、LED屏、宣传栏等载体,结合“四进一促”稳就业等活动,广泛深入宣传企业员工录用服务事项,切实提高“一件事一次办”的知晓度,为企业提供员工录用事项联办的暖心服务。
七、本方案自印发之日起实施。
附件:1.铜陵市企业“员工录用一件事”办理流程
2.企业“员工录用一件事”联办事项清单及联系方式
3.企业“员工录用一件事”联办申请表
附件1
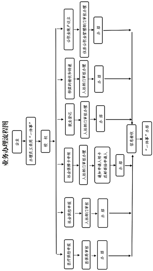
企业“员工录用一件事”办理流程
一、实施目标
依托省政务服务平台开通企业员工录用“一件事”线上线下联办渠道。符合联办条件的企业,可实现就业登记、职工参保登记(社会保险)、档案的接收和转递(流动人员)、社会保障卡申领、职工参保登记(基本医疗保险)、个人住房公积金账户设立6个事项联办,申请企业可根据场景引导,选择需联办事项和办理结果送达方式(现场领取或邮寄)。
二、实施方式
(一)线上实施
1.服务渠道建设。申报入口,线上在省政务服务平台“一件事一次办”专栏开通企业员工录用“一件事”服务入口,符合条件的申请企业可通过线上渠道提交联办申请。承诺勾选,申请企业经办人员(以下简称申请人)认真阅读“用户须知”并勾选同意后,进入企业员工录用“一件事”模块。事项联办,申请人根据实际情况,勾选需要办理的事项。条件预判,系统自动预判申请企业的社会保险、医疗保险、住房公积金单位开户信息(企业账户需提前开立),录用员工的社会保障卡信息等条件,不符合办理条件的反馈申请失败及未成功原因。信息录入,条件预判通过后,企业根据选择办理的事项填写相关表单信息、上传申报材料。用户提交办件后,省政务服务平台将办件分发至相应部门进行审核,申请人可在省政务服务平台查看各环节审核结果。(责任单位:数据资源管理部门(政务服务管理部门))
2.就业登记。省政务服务平台接收到申请人就业登记(用工备案)信息后,推送至安徽智慧就业服务平台系统,人力资源社会保障部门工作人员于1个工作日内收件并核实信息,对符合办理条件的即时受理,并将办理结果反馈至省政务服务平台。(责任单位:人力资源社会保障部门)
3.职工参保登记(社会保险)。省政务服务平台接收到申请人参保登记申请信息后,推送至省集中社会保险信息系统,人力资源社会保障部门工作人员于工作日当日收件并核实人员信息,对符合办理条件的即时受理,并将办理结果反馈至省政务服务平台。(责任单位:人力资源社会保障部门)
4.职工参保登记(医疗保险)。省政务服务平台接收到申请人职工参保登记(医疗保险)申请信息后,推送至安徽省医疗保障信息平台,医疗保障部门工作人员及时收件并核实信息,对符合办理条件的于5个工作日内受理,并将办理结果反馈至省政务服务平台。(责任单位:医疗保障部门)
5.社会保障卡申领。省政务服务平台接收到申请人社会保障卡申领信息后,推送至安徽省社会保障卡管理信息系统,人力资源社会保障部门1个工作日内将受理结果反馈至省政务服务平台。申领审核成功的,人力资源社会保障部门通知申请人到各级政务服务中心、经办银行窗口等线下场所现场制卡并领取,也可以根据申请人填写的领取方式邮寄给申请人。(责任单位:人力资源社会保障部门)
6.档案的接收和转递(流动人员)。省政务服务平台接收到申请人档案的接收和转递申领信息后,推送至安徽公共招聘网人事档案网上办事大厅并同步发送对员工的短信提示【短信提示模板:尊敬的***先生(女士),***单位已代为办理您的档案接收和转递业务,若有疑问,请及时与该单位或当地人力资源社会保障部门联系。】人力资源和社会保障部门工作人员1个工作日内收件并核实信息,对符合办理条件的即时受理,并将办理结果反馈至省政务服务平台。(责任单位:人力资源社会保障部门)
7.个人住房公积金账户设立。省政务服务平台接收到企业法人账户申请个人住房公积金账户设立信息后,推送至企业所属地住房公积金管理中心综合服务平台系统,业务经办人员对符合办理条件的即时受理,并将办理结果反馈至省政务服务平台。(责任单位:住房公积金管理部门)
(二)线下实施
市人社局等相关部门在政务服务中心设立综合窗口,符合条件的申请企业可通过线下渠道提交联办申请。对暂时不能网上办理的事项,通过政务服务中心综合窗口集中受理,畅通线下并行办理渠道。


附件3
企业“员工录用一件事”联办申请表
编号:
|
申请企业名称
|
|
统一社会信用代码
|
|
|
法人代表姓名
|
|
身份证号码
|
|
|
经办人姓名
|
|
联系电话
|
|
|
联办事项选择办理
|
|
就业登记
|
是 £
|
否 £
|
|
职工参保登记 (社会保险)
|
是 £
|
否 £
|
|
职工参保登记 (基本医疗保险)
|
是 £
|
否 £
|
|
社会保障卡申领
|
是 £
|
否 £
|
|
档案的接收和转递(流动人员)
|
是 £
|
否 £
|
|
个人住房公积金 账户设立
|
是 £
|
否 £
|
|
本单位承诺提供申请材料真实有效,以上信息确认无误。
经办人签字: 企业签章:
年 月 日
|
|
|
|
|
|
|
铜陵市人力资源和社会保障局 2024年3月22日印发
|